Штатив Ш-IIН-8 ГОСТ 10197-70

Штатив Ш-II Н-8  для измерительных головокШтатив Ш-II Н-8  для измерительных головок
Краткое описание: 

Высота колонки: 250 м

Вылет изм. головки: 200 мм

Диаметр отверстия под изм. головку: 8 мм

Ц. д. изм. головки: 0,01 мм

Габаритные размеры: 280x122x150

Вкладки

Описание

Штатив Ш-IIН-8 – прибор, предназначенный для измерения относительных и абсолютных линейных размеров, контроля отклонений от заданной геометрической формы и взаимного расположения поверхностей с помощью установленных на нём измерительных головок.

Соответствие
ГОСТ 10197-70 Стойки и штативы для измерительных головок. Технические условия

Особенности применения
Применяется совместно с измерительными головками ИЧ-10 (индикатор часового типа) с ценой деления 0,01 мм. По желанию заказчик ИЧ-10 можно заменить на аналогичный.

Внешний вид
Штатив для измерительных головок
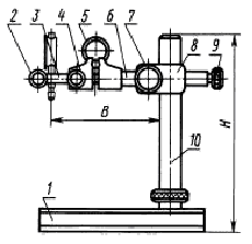
Рис.1 Штатив Ш-IIН-8 ГОСТ 10197-70

1 – основание; 2 – винт зажима измерительной головки; 3 – державка; 4 – винт зажима державки; 5 – пружинное кольцо; 6 – стержень; 7 – зажимной винт; 8 – хомутик; 9 – винт тонкой установки на размер; 10 – колонка.

Спецификация
Технические характеристики Штатива Ш-IIН-8
Высота колонки, мм, не менее
250
Наибольший вылет измерительной головки, мм, не менее
200
Диаметр отверстия под измерительную головку, мм
8Н8
Цена деления измерительной головки, мм
0,01
Габаритные размеры
280x122x150